WANVALVE Electric Flanged Explosion-Proof Ball Valve – Stainless Steel WE10-B-EP
The WANVALVE WE10-B-EP Electric Flanged Explosion-Proof Ball Valve is engineered for electrically actuated ball valve automation in hazardous and industrial environments. Featuring a stainless steel body and precision ball valve design, it ensures safe, reliable, and efficient flow control across a wide range of applications. Built with explosion proof actuators, this model delivers outstanding durability and compliance with safety standards in industries such as oil & gas, chemical processing, and power generation.
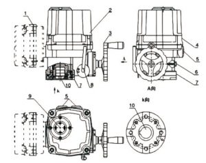
Explosion-Proof Electric Actuator
The WE10-B-EP is equipped with robust explosion proof actuators designed for environments containing flammable gases or vapors. The actuator’s sealed housing prevents ignition, ensuring safe and consistent operation. An integrated manual override allows operators to open or close the valve even during power loss, enhancing system reliability and safety. Built for electrically actuated control, it provides precise positioning and smooth operation, reducing human error and increasing automation efficiency. The actuator also meets international explosion-proof standards (ATEX/IECEx), ensuring compliance with industrial safety regulations.
Learn more about actuator standards from donyronymfg.com.
Stainless Steel Ball Valve Construction
Constructed from premium stainless steel, the WE10-B-EP provides exceptional corrosion resistance and structural integrity. The stainless steel ball valves design ensures a smooth, full-bore flow path, minimizing pressure drop and improving process efficiency. The polished surface provides excellent chemical resistance and prevents contamination, making it suitable for both industrial and sanitary applications. Combined with PTFE sealing and precision machining, it delivers tight shutoff performance even under high temperature and high-pressure conditions, ensuring long-term durability and reliable operation in demanding environments.
Flanged Connection and Compatibility
The flanged ball valve configuration (ANSI/JIS/DIN) enables quick installation, stable alignment, and easy maintenance. Its robust design ensures dependable sealing and long-term service reliability, making it a preferred choice for electrically actuated automation systems. The global standard compatibility allows the valve to integrate seamlessly with pipelines in industrial, chemical, and energy sectors.
For further piping and system integration information, visit heatinghelp.com.
Working Principle
The WE10-B-EP Electric Flanged Explosion-Proof Ball Valve operates through an electrically actuated control mechanism that converts electrical energy into rotary motion. When a signal is received from a PLC, DCS, or manual switch, the explosion-proof actuator rotates the valve ball by 90°, opening or closing the flow path with precision. The actuator’s sealed, flameproof housing isolates the internal motor and wiring from external flammable gases or vapors, preventing ignition in hazardous zones. This explosion proof electric ball valve ensures fast, stable, and repeatable operation, enabling accurate flow control in automated process systems while maintaining compliance with ATEX and IECEx safety standards.
Technical Specifications
| Parameter | Specification |
|---|---|
| Size | DN08 to DN200 (1/4″ to 8″) |
| Pressure | 10 bar to 64 bar |
| Temperature | -10°C to 180°C (High Temperature Rated) |
| Connection | Flanged (ANSI / JIS / DIN) |
| Body Material | Stainless Steel |
| Sealing Material | PTFE |
| Operation | Electrically actuated with manual override |


Applications
The WANVALVE WE10-B-EP Electric Explosion-Proof Ball Valve is ideal for automated flow control in hazardous and demanding environments. Its robust design and electrically actuated control make it suitable for:
-
Chemical and petrochemical plants
-
Oil & gas pipelines
-
Water and wastewater treatment systems
-
Marine and shipboard installations
-
Power generation and heating systems
-
Food, beverage, and pharmaceutical processing lines
This valve integrates seamlessly with modern PLC-based or smart control systems, delivering safe, precise, and automated flow control.
Key Benefits
-
Safe and reliable explosion proof actuators
-
Corrosion-resistant stainless steel ball valve body
-
Integrated manual override for emergency control
-
High-pressure and high temperature resistance
-
Smooth and precise electrically actuated control
-
Quick installation and maintenance with flanged connections
-
Reduces operational downtime and maintenance costs while improving efficiency
-
Global flange compatibility (ANSI/JIS/DIN standards)
Conclusion
With its combination of explosion-proof protection, stainless steel durability, and advanced electrical actuation, the WANVALVE WE10-B-EP delivers dependable automation for industries that demand both safety and precision. Its flanged connection design ensures easy installation and global compatibility, while the electric explosion proof actuator provides stable and responsive control in hazardous environments. Whether used in oil & gas, chemical, or power generation systems, this electric flanged ball valve guarantees reliable performance and long service life.





